Up/Down expansion pneumatic discharge valve

Product overview

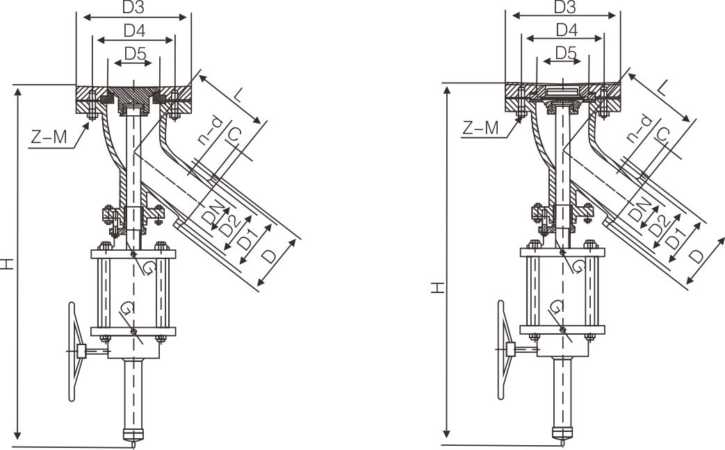
Nominal diameter: 40 * 50/50 * 80/65 * 80/80 * 100 * 150/150 * 200

Nominal pressure: PN6/PN10/PN16; CL150(PN20)

Operating temperature: -17 ℃~200 ℃

Flow characteristics: fast opening

Adjustable ratio:/

Leakage level: ANSI B16.104: IV, V, VI

Valve body material: WCB/WCC/LCB/LCC; WC6/WC9; CF8/CF8M; 4A/5A, etc

Valve trim material: 304+ST/304+RTFE, etc

Filler material: PTFE, flexible graphite


Product Detail

The up/down expansion pneumatic discharge valve is mainly suitable for discharging, discharging, sampling, and dead zone free shutdown operations at the bottom of reactors, storage tanks, and other containers. By welding the bottom flange of the valve to the bottom of the reaction kettle or storage tank and other containers, the residual phenomenon of process medium at the outlet of the container is eliminated. According to the actual situation, the bottom structure of the valve body is designed as a flat bottom type, and the valve body is V-shaped, providing two working modes of lifting and lowering the valve disc. The inner cavity of the valve body is equipped with a erosion and corrosion resistant sealing ring, which can protect the valve body from medium erosion and corrosion at the moment of opening the valve. The sealing ring is specially treated to achieve a surface hardness of HRC56-62, with high wear resistance and corrosion resistance functions. The valve disc seal is welded with hard alloy on the cover as needed, and the sealing pair adopts wire sealing to ensure the reliability of the seal and prevent scarring. Simultaneously adopting the design of a short stroke valve disc. Widely used in industries such as chemical, petroleum, metallurgy, dyes, and food processing.


Up/Down expansion pneumatic discharge valve(圖1)


Discharge Valve (pneumatic)(圖1)


Recommend